Моделирование и обработка шлицы
В уроке рассказываем о разных способах обработки шлицы в одежде.
Просмотров: 36006
Шлица — это деталь одежды, представляющая собой разрез, обработанный особым образом. В отличие от обычного разреза, где обе части равнозначны, конструкция шлицы такова, что одна её половина перекрывает другую. Термин «шлица» происходит из немецкого языка (Schlitz) и означает «разрез», «прорезь». Изначально шлица использовалась в костюмах для верховой езды, облегчая движения всадника. Со временем её стали применять в верхней одежде из соображений практичности.
Расположение шлицы
Шлица обычно располагается в среднем шве юбки, платья, пиджака или в локтевом шве рукава. Она может обрабатываться как в изделиях с подкладкой, так и без неё.
Шлица на юбке
Шлица на юбке — один из наиболее распространённых элементов женской одежды, сочетающий сексуальность и удобство. Если шлица не была предусмотрена в конструкции изделия, её можно добавить самостоятельно. Длина и расположение шлицы зависят от дизайнерского решения.
Длина шлицы
Длина шлицы зависит от роста человека, длины изделия и его назначения. В среднем длина шлицы от линии колена вверх составляет около 20 см. Длину шлицы можно корректировать в зависимости от дизайна.
Толщина и эластичность материала
Эти параметры определяют выбор способа обработки шлицы и клеевых прокладочных материалов. Для сохранения формоустойчивости припуски на обработку шлицы необходимо продублировать. Лучше всего использовать нетканые термоклеевые материалы, так как они хорошо сохраняют форму.
На рисунке 1 изображена форма деталей для дублирования припусков на обработку шлицы и нижнего среза юбки, учитывающая разную толщину материалов. Высекание производных деталей по внутренним срезам помогает избежать дефекта «пролегания», когда клеевой материал становится видимым с лицевой стороны.
Для толстых и малорастяжимых материалов прокладочный слой укладывается строго в сгиб, а для тонких и растяжимых он заходит за линию перегиба шлицы. Это обеспечивает лучшую формоустойчивость и предотвращает деформацию изделия.
Такой подход позволяет сохранить эстетичный вид изделия и повысить его долговечность.
Рисунок 1. Варианты обработки шлицы дублирующим материалом
Этапы моделирования и обработки шлицы
1. Определите длину шлицы, отметьте контрольным знаком по шву, где она будет располагаться.
2. Оцените толщину и эластичность материала, выберите подходящий способ обработки.
3. Подберите клеевые прокладочные материалы с учётом свойств основного материала.
4. Определите величину припусков на швы и обработку шлицы.
5. Выполните раскрой деталей из основного и прокладочного материалов с припусками на швы.
6. Обработайте узел шлицы.
Последовательность обработки шлицы
1. Наметьте линию низа изделия копировальными стежками.
2. Продублируйте припуск на обработку шлицы левой задней части юбки. Приклейте клеевую кромку к припуску на обработку правой части юбки.
3. Обметайте средний срез юбки, а также верхний и боковой срезы шлицы.
4. Наметьте линию низа юбки и проложите копировальные стежки.
5. Застрочите припуск на обработку шлицы правой части спинки, огибая клеевой прокладочный материал, не доходя до линии подгиба низа 6–8 см (рисунок 2а).
Рисунок 2. Последовательность обработки шлицы
6. Сложите правую и левую детали изделия лицевыми сторонами внутрь, уравняйте срезы среднего шва и стачайте его (рисунок 2б).
7. Надсеките припуск на обработку шлицы правой части юбки в уголке, не доходя 1–2 мм до строчки.
8. Разутюжьте припуски среднего шва. Заутюжьте припуск на обработку шлицы левой части спинки так, чтобы сгиб шлицы являлся продолжением среднего шва.
9. Обметайте нижний срез юбки.
10. Обтачайте уголок левой части юбки, уменьшив толщину припуска на обработку нижнего среза (рисунок 2в).
11. Обтачайте уголок шлицы правой части юбки, обращая внимание на долевую линию (рисунок 3).
Рисунок 3. Схема обработки уголка шлицы
12. Заметайте и подшейте припуск на обработку нижнего среза юбки, приутюжьте.
13. Проложите отделочную строчку на левой части юбки под углом 45 градусов к среднему шву.
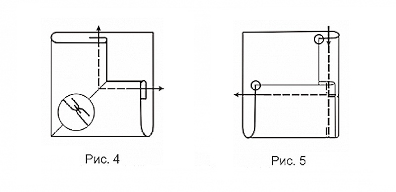
Важно: Предложенный способ обработки шлицы — лишь один из множества возможных. Верхнюю часть шлицы можно обработать, как показано на рисунке 4, сформировав уголок. Это придаёт изделию аккуратный и профессиональный вид.
Что касается нижней части шлицы, её можно обработать самым простым способом, как показано на рисунке 5. Этот метод подходит для правой части юбки и позволяет сэкономить время без ущерба для качества изделия.
Рисунки 4 и 5. Варианты обработки угла шлицы
Таким образом, выбор способа обработки зависит от ваших предпочтений, сложности конструкции и используемых материалов. Каждый вариант имеет свои преимущества и может быть адаптирован под конкретные задачи.
Просмотров: 36006
Понравилась статья? Жми лайк!
01.03.2017
Понравилась статья? Жми лайк!
Подпишитесь на интересные статьи и получайте свежие новости
Самое интересное 7 дней в неделю
0 комментариев
Читайте также
Популярные комментарии
Из габардина отличное платье вышло и сочетание цветов мне очень нравится
К материалу: По выкройке платья "Геометрия"
За день
