Выкройка жакета для девочки

Выкройка №: 20
Выкройка жакета для девочки_normal
Выкройка жакета для девочки_normal

Выкройка жакета для девочки

Выкройка №: 20
Средняя сложность
Размерный ряд
68-128


Выкройка детского однобортного жакета. Перед и спинка с рельефными швами. На полочках расположены накладные карманы. Застежка бортовая на 3 пуговицы и прорезные петли. Рукава втачные одношовные укороченные, низ рукавов обработан воланом. 

Фотоотзывы по выкройке 4 #patterneasy_жакетДляДевочек

Как сшить. Мастер-класс по пошиву

Все инструкции по пошиву в открытом доступе, чтобы вы могли ознакомиться с ними до покупки выкройки. Если у вас появятся вопросы по пошиву, задавайте их в комментариях под инструкцией. Наши конструкторы и технологи помогут вам разобраться.


Технический рисунок модели:
Купить выкройку Выкройка жакета для девочки онлайн фото
Купить выкройку Выкройка жакета для девочки онлайн фото
На выкройке приняты следующие обозначения:
Купить выкройку Выкройка жакета для девочки онлайн фото
Потребуется:  Костюмный трикотаж  шириной 1,5м длиной 0,46м-0,48м-0,54м -0,57м-0,58м -0,62м- 0,65м -0,7м -0,8м -0,81м – 0,85 м, дублерин шириной 0,9м длиной 0,31м -0,31м -0,33м – 0,35м – 0,35м – 0,37м -0,37м -0,39м -0,41м – 0,42м – 0,44м, пуговицы 3 шт
Детали кроя:
Купить выкройку Выкройка жакета для девочки онлайн фото

КАК РАСПЕЧАТАТЬ 

ВНИМАНИЕ! ПРЕЖДЕ ЧЕМ НАЧАТЬ РАБОТУ С ВЫКРОЙКОЙ, ВНИМАТЕЛЬНО ИЗУЧИТЕ ИНФОРМАЦИЮ

Из основного материала:

  • Полочка – 2 дет.
  • Боковая часть полочки -2 дет.
  • Боковая часть спинки – 2 дет.
  • Спинка – 1 дет. со сгибом
  • Обтачка горловины спинки 1 дет. со сгибом
  • Подборт – 2 дет.
  • Карман - 2дет.
  • Рукав 2 дет.
  • Волан рукава -2 дет.
  • Воротник  - 2дет.
Из клеевого материала:
  • Подборт- 2 дет.
  • Обтачка горловины спинки 1 дет. со сгибом
  • Воротник  - 1дет.
Припуски: на швы и по срезам – 1,5 см,  на подгибку низа – 2,5 см. Детали из клеевого материала должны быть без припусков по срезам борта и внешнему срезу воротника (отлету)
   Пример раскладки:
Купить выкройку Выкройка жакета для девочки онлайн фото
Ткань сложена вдвое.
Последовательность пошива:
  • Выполнить рельефные швы по спинке, стачать боковые швы.
  • Обметать срезы швов.
  • По рельефным швам спинки проложить отделочные строчки шириной 0,5см.
  • Швы приутюжить утюгом.

Низ жакета.

  • Нижний срез жакета обметать. Заметать на 2,5см . Отстрочить по лицевой стороне. (рис.1)
Купить выкройку Выкройка жакета для девочки онлайн фото
  • Стачать рельефные швы полочки. Обметать, затем отстрочить аналогично рельефным швам спинки.
  • Стачать плечевые срезы спинки и полочки, плечевые срезы по обтачке горловины и подборту, срезы рукавов.
  • Обметать срезы швов. Заутюжить на одну сторону. Внутренний срез подборта и обтачки обметать.

Воротник

  •  Вколоть деталь воротника в горловину, совмещая надсечки с плечевыми швами и серединой горловины спинки. Проклеенную деталь воротника вколоть в горловину подборта и обтачки, аналогично предыдущей детали. Втачать детали воротника, ширина шва 1,5 см. Подрезать припуски до 1,0 см. Разутюжить швы втачивания. Совместить швы горловины и проложить закрепляющую строчку. ( рис.2)
Купить выкройку Выкройка жакета для девочки онлайн фото

Карман

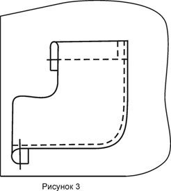
  • Наметить с лицевой стороны припуски кармана и заметать их на изнаночную строну. Верхний срез обметать, а затем отогнуть на лицевую сторону и обтачать уголки. ( рис.3) Вывернуть верхний край на изнаночную сторону. Прострочить отделочную строчку по верхнему краю. Карман приутюжить. По пунктирным линиям на лекале наметить карман на лицевой стороне полочки. Наметать готовый карман. Настрочить на 0,5см от края.
Купить выкройку Выкройка жакета для девочки онлайн фото

Борт жакета

  • Наложить лицевыми сторонами внутрь подборт с воротником на полочку с воротником. Сколоть, совмещая плечевые швы, середины горловины, крайние точки воротников, надсечки по бортам, низ полочки и подборта. Проложить сметочные стежки. Убрать булавки. По лекалам полочки и воротника намелить край борта и внешний край воротника (отлет). Проложить отделочную строчку по меловой линии за один прием. Удалить сметочные стежки. Припуски шва подрезать до 0,5см . Борт и воротник приутюжить.

Рукава

  • Стачать короткие срезы волана. Обметать их и заутюжить. Волан рукава отстрочить по внешнему срезу на ширину 1,5см. Подрезать край до 0,5см. Сколоть волан и рукав, складывая лицевыми сторонами внутрь, совмещая надсечки . Втачать волан в рукав шириной шва 1,5см. Затем обметать и заутюжить шов на рукав. Проложить отделочную строчку с лицевой стороны рукава. Вметать рукава в пройму жакета. Втачать шириной шва 1,5см. Затем обметать и приутюжить шов с изнаночной стороны.
  • На правой стороне переда обметать петли, предварительно наметив по лекалу.
  • На левой стороне переда пришить пуговицы.
ЧИТАТЬ ДАЛЬШЕ

Рекомендуем также

Похожие товары в категориях

Размерная сетка (rus / eng)
Детская для девочек (Российские размеры)
Название Значение
Возраст 6 месяцев
Рост 68 см
Обхват бёдер 48.6 см
Обхват груди 44 см
Обхват талии 42 см
Название Значение
Возраст 9 месяцев
Рост 74 см
Обхват бёдер 49.4 см
Обхват груди 44 см
Обхват талии 42 см
Название Значение
Возраст 12 месяцев
Рост 80 см
Обхват бёдер 53.4 см
Обхват груди 48 см
Обхват талии 45 см
Название Значение
Возраст 18 месяцев
Рост 86 см
Обхват бёдер 57.4 см
Обхват груди 52 см
Обхват талии 48 см
Название Значение
Возраст 2 года
Рост 92 см
Обхват бёдер 58.2 см
Обхват груди 52 см
Обхват талии 48 см
Название Значение
Возраст 3 года
Рост 98 см
Длина изделия 55 см
Длина ноги 40.7 см
Длина плеча 6.8 см
Длина рукава 31.5 см
Высота сидения 16 см
Обхват бёдер 62.2 см
Обхват груди 56 см
Обхват плеча 18.4 см
Обхват талии 51 см
Обхват запястья 12.1 см
Высота бёдер 11.4 см
Длина спины до талии 24.5 см
Обхват шеи 26 см
Ширина груди 20.9 см
Ширина низа 26 см
Ширина спины 24.2 см
Высота проймы сзади 12 см
Название Значение
Возраст 4 года
Рост 104 см
Длина изделия 52 см
Длина ноги 44.7 см
Длина плеча 9.3 см
Длина рукава 33.1 см
Высота сидения 16.5 см
Обхват бёдер 63 см
Обхват груди 56 см
Обхват плеча 17.8 см
Обхват талии 51 см
Обхват запястья 12.1 см
Высота бёдер 11.9 см
Длина спины до талии 25.2 см
Обхват шеи 26.5 см
Ширина груди 21.1 см
Ширина низа 26 см
Ширина спины 24.6 см
Высота проймы сзади 12.5 см
Название Значение
Возраст 5 лет
Рост 110 см
Длина изделия 55 см
Длина ноги 48.4 см
Длина плеча 9.8 см
Длина рукава 35.6 см
Высота сидения 17.4 см
Обхват бёдер 67 см
Обхват груди 60 см
Обхват плеча 19.1 см
Обхват талии 54 см
Обхват запястья 12.6 см
Высота бёдер 12.6 см
Длина спины до талии 26.3 см
Обхват шеи 27.3 см
Ширина груди 22.5 см
Ширина низа 26 см
Ширина спины 24.6 см
Высота проймы сзади 13.2 см
Название Значение
Возраст 6 лет
Рост 116 см
Длина изделия 58 см
Длина ноги 52.4 см
Длина плеча 10.3 см
Длина рукава 37.6 см
Высота сидения 17.9 см
Обхват бёдер 67.8 см
Обхват груди 60 см
Обхват плеча 19.1 см
Обхват талии 54 см
Обхват запястья 12.6 см
Высота бёдер 13.1 см
Длина спины до талии 27.4 см
Обхват шеи 27.7 см
Ширина груди 22.7 см
Ширина низа 26 см
Ширина спины 26.6 см
Высота проймы сзади 13.7 см
Название Значение
Возраст 7 лет
Рост 122 см
Длина изделия 61 см
Длина ноги 60.2 см
Длина плеча 10.7 см
Длина рукава 39.5 см
Высота сидения 17.9 см
Обхват бёдер 68.6 см
Обхват груди 60 см
Обхват плеча 17.9 см
Обхват талии 54 см
Обхват запястья 12.6 см
Высота бёдер 14 см
Длина спины до талии 27.1 см
Обхват шеи 26.8 см
Ширина груди 25.4 см
Ширина низа 32 см
Ширина спины 26.3 см
Высота проймы сзади 13.9 см
Название Значение
Возраст 8 лет
Рост 128 см
Длина изделия 64 см
Длина ноги 62.3 см
Длина плеча 11.2 см
Длина рукава 41.7 см
Высота сидения 18.5 см
Обхват бёдер 74.4 см
Обхват груди 64 см
Обхват плеча 19.4 см
Обхват талии 57 см
Обхват запястья 12.7 см
Высота бёдер 14.8 см
Длина спины до талии 28.8 см
Обхват шеи 28.1 см
Ширина груди 26.2 см
Ширина низа 32 см
Ширина спины 26.2 см
Высота проймы сзади 14.7 см
Название Значение
Возраст 9 лет
Рост 134 см
Длина изделия 67 см
Длина ноги 64.4 см
Длина плеча 11.7 см
Длина рукава 43.9 см
Высота сидения 20.2 см
Обхват бёдер 78.6 см
Обхват груди 68 см
Обхват плеча 20.9 см
Обхват талии 60 см
Обхват запястья 13.4 см
Высота бёдер 15.3 см
Длина спины до талии 30.5 см
Обхват шеи 29.4 см
Ширина груди 27 см
Ширина низа 32 см
Ширина спины 27 см
Высота проймы сзади 15.5 см
Название Значение
Возраст 10 лет
Рост 140 см
Длина изделия 70 см
Длина ноги 66.5 см
Длина плеча 12.2 см
Длина рукава 46.1 см
Высота сидения 21.9 см
Обхват бёдер 82.8 см
Обхват груди 72 см
Обхват плеча 22.4 см
Обхват талии 63 см
Обхват запястья 14.1 см
Высота бёдер 15.8 см
Длина спины до талии 32.2 см
Обхват шеи 30.7 см
Ширина груди 27.8 см
Ширина низа 32 см
Ширина спины 27.8 см
Высота проймы сзади 16.3 см
Название Значение
Возраст 11 лет
Рост 146 см
Длина изделия 73 см
Длина плеча 12 см
Длина рукава 48.1 см
Обхват бёдер 87 см
Обхват груди 76 см
Обхват плеча 22.9 см
Обхват талии 66 см
Обхват запястья 14.4 см
Длина спины до талии 34.8 см
Обхват шеи 31.2 см
Ширина груди 28.5 см
Ширина спины 31.3 см
Высота проймы сзади 17.1 см